當周末所有人的目光還聚焦在哇哈哈的遺產爭奪時,一個足以改寫中國乃至亞洲能源版圖的史詩級工程,正在世界屋脊之上,悄然拉開序幕。
它,就是雅魯藏布江下游水電站。
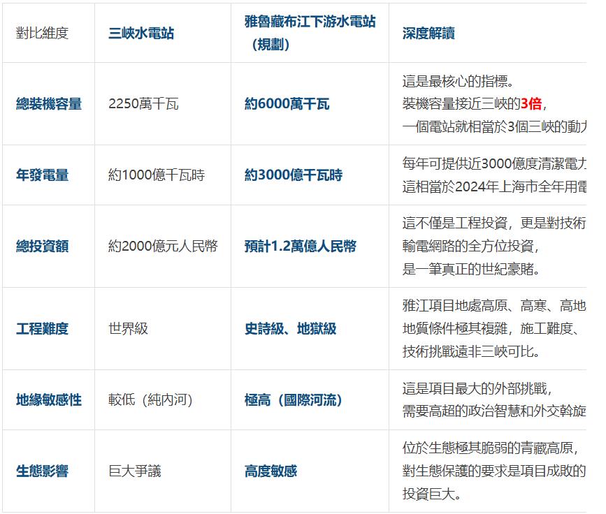
投資1.2兆,每年發電3000億度,相當於3個長江三峽!
中國的基建狂魔又要開始炫技,而中國能源結構和能源安全將全面改寫,我們又面臨那些投資機會?
一、並非衝動:世界屋脊上的水之富礦與中國的能源之渴
要理解雅魯藏布江水電站投資建設的必然性,首先要看懂兩張地圖:中國的水資源分佈圖和能源消費地圖。
1、西藏:被誤解的水塔
一提到西藏,人們想到的是高寒、乾旱。但這是一個巨大的誤解。實際上,西藏是名副其實的亞洲水塔,其水資源總量高達4483億立方米,佔全國的16.5%,人均水資源量是全國平均水平的近80倍。
然而,更驚人的是水能資源。中國的技術可開發水能資源,西藏獨佔22%,約6663萬千瓦,位居全國之首。而這一切的皇冠,就是雅魯藏布江。
這條發源於喜馬拉雅山北麓的河流,在中國境內奔流2000多公里,在大拐彎處,短短500公里河段,落差竟高達驚人的2200米!
這是什麼概念?相當於把黃河從源頭到入海口的全部落差,濃縮在了這一個拐彎裡。這裡蘊藏的水能,理論上可達近1億千瓦,是名副其實的世界水能富礦。
2、中國的能源焦慮與水電的壓艙石
再看另一邊,中國的能源現狀。
總用電量: 2024年,中國全社會用電量已穩穩突破9兆千瓦時大關,並持續增長。這個龐大的數字,是驅動世界第二大經濟體運轉的關鍵。
能源結構: 儘管新能源發展迅猛,但火力發電依然佔據著半壁江山(約60%-70%),這是我們能源安全的基石,也是雙碳目標下必須啃下的硬骨頭。
水電的貢獻: 水力發電目前貢獻了全國總發電量的約15%-17%,是僅次於火電的第二大電源,也是最穩定、最優質的清潔能源。截至2024年底,中國水電總裝機容量已突破4.2億千瓦,穩居世界第一。
看懂了這兩點,決策的邏輯就浮出水面了:一邊是天賦異稟、尚未開發的巨大清潔能源寶庫,另一邊是經濟發展對電力的巨大渴求和雙碳目標的硬性約束。 開發雅魯藏布江,不是要不要的問題,而是何時開發、如何開發的問題。
二、超越三峽:一場全方位的世紀對比
公眾對大型水電站的認知,基本停留在三峽。但雅魯藏布江下游水電站一旦建成,將從多個維度上,全面超越三峽,成為新的世界水電之王。
雅魯藏布江水電站的決策過程,遠比外界想像的要漫長和審慎。早在上世紀90年代,中科院就已組織多次深入考察。但遲遲未動,主要有三大攔路虎:第一是技術瓶頸,比如超高壩、長隧洞、高海拔施工,第二是資金體量,兆等級的投資在當時是天文數字,今天來看也是史詩級投入,第三涉及到國際關係,主要是考慮下游印度的反應。
如今為何能啟動?因為時機已到。
在工程技術上取得了突破:工程主要採取截彎取直、隧洞引水的開發方式,建設5座梯級電站。中國通過白鶴灘、烏東德等一系列世界級水電站的建設,已經攻克了絕大部分技術難題,儲備了全球領先的智能建造技術。
國力支撐: 雅江項目總投資約1.2兆元。中國目前的經濟體量和金融實力,已足以支撐如此巨大的投資。
戰略決心: 雙碳目標的確立,為項目提供了最頂層的戰略背書,將其從一個單純的能源項目,提升到國家戰略層面。雅江項目在十四五規劃中被明確提出,標誌著決策的最終落定。
三、不止於發電:它如何重塑中國的能源大動脈?
如果僅僅把雅江水電站看作一個大號行動電源,那就太小看這盤棋了。它的影響就好比是巨石投湖,漣漪將擴散至整個國家能源體系的每個角落。
電力供應的定海神針: 每年3000億度清潔電力注入國家電網,能替代近1億噸標準煤,減少近3億噸二氧化碳排放。這將極大最佳化中國的能源結構,尤其是在用電高峰期,提供無與倫比的穩定輸出。
電力傳輸的超級引擎: 這些電如何送出?必然要依賴中國的另一張王牌——特高壓輸電(UHV)。雅江項目將催生數條從西藏到中東部負荷中心的特高壓直流線路,進一步鞏固和延伸西電東送的大動脈。這不僅是輸電,更是對電網控制技術、穩定性的極限考驗和巨大升級。
電力儲存的終極方案: 水電站是天然的巨型行動電源。在夜間或節假日,當太陽能、風能等新能源出力過剩時,可以利用多餘電力將水抽到上游水庫(抽水蓄能),在用電高峰時再放水發電。雅江水電站的巨大調節庫容,將成為國家電網的超級穩定器,完美解決新能源的波動性問題,讓電網更安全、更智能。
對電價的影響: 短期看,巨大的建設投資會體現在成本中。但長期看,水電站建成後營運成本極低(因為水是免費的),可以提供數十年甚至上百年的廉價、穩定電力,對平抑整個社會的長期用電成本有不可估量的作用。
對火電、核電的協同效應: 雅江項目不是要取代誰,而是要協同作戰。它能大幅替代作為基礎負荷的火電,為其進行清潔化改造提供空間和時間。同時,它強大的調峰能力,又能與輸出穩定的核電形成完美互補,共同建構一個水火風光核多能互補的未來能源體系。
四、明天周一,風口何在?資本已經嗅到了什麼?
聊了這麼多宏大敘事,我們回到最現實的問題:明天周一開盤,那些領域可能成為資本追逐的焦點?
這不是一個短期的概念炒作,而是一個長達十年乃至更久的超級工程產業鏈。其投資機會可以分為幾個層次:
1、基建先鋒(開路者):
核心標的:中國電力建設集團(中國電建)、中國能源建設集團(中國能建)、中國葛洲壩集團等。這些是承建水電站主體的國家隊,是訂單最直接的受益者。尤其是擁有水電規劃、設計、施工全產業鏈能力的企業,將深度繫結這一世紀工程。
2、高端裝備(心臟與血管):
水輪發電機組: 這是水電站的心臟。關注哈爾濱電氣、東方電氣等巨頭,它們在全球大型水電機組市場已具備壟斷性優勢。雅江項目6000萬千瓦的裝機,意味著天量的訂單。
特高壓(UHV)裝置: 電力送出的血管。國電南瑞、許繼電氣、平高電氣等特高壓裝置龍頭,將迎來新一輪建設高峰。從換流閥、變壓器到GIS開關,都是實打實的需求。
特種材料與工程機械: 高強度特種水泥、高強度鋼材、以及適應高原環境的特種工程機械(如三一重工、徐工機械等),也將分得一杯羹。
3、能源營運(長期的現金牛):
水電營運企業:長江電力、華能水電、國投電力等。雖然雅江項目的業主尚未最終明確,但未來參與營運的企業將獲得持續、穩定、海量的現金流。
綠電概念: 項目將極大增加中國的綠電供給。未來,那些能夠獲得並消納這些綠電的下游企業(如資料中心、高科技製造),以及參與綠電交易、碳交易的平台,將具備長期價值。
投資邏輯的思考:
節奏感: 項目建設周期極長。初期,市場會聚焦於基建和裝置訂單。中期,焦點會轉向工程進度和技術突破。長期,則看營運效益和電價回報。
確定性: 整個產業鏈中,特高壓輸電的建設需求是最先釋放和最確定的環節之一。因為無論電站主體如何分包,電總是要送出來的。
隱形冠軍: 除了上述龍頭,更要關注那些在特定領域擁有核心技術的隱形冠軍,比如超高壩的防水材料供應商、高精度地質勘探服務商等。
雅魯藏布江水電站,絕不僅僅是一座發電站。它是中國將資源優勢轉化為經濟優勢和戰略優勢的又一次大手筆,是在能源新大陸上插上的一面旗幟,更是用工程技術和國家意志,為子孫後代謀求能源安全和綠色未來的深遠佈局。
當我們站在2025年的時間節點上回望,三峽工程定義了過去二十年中國基建的輝煌。而雅魯藏布江,則將定義未來三十年中國能源的新高度。
這盤棋,不僅是電價,更關乎國運,關乎未來。你看懂了嗎? (軲轆凱)
